←
返回首页
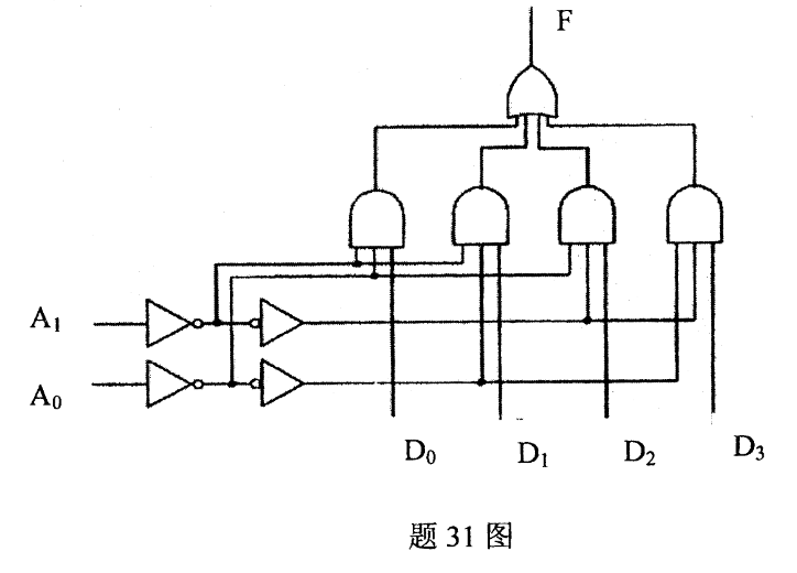
[简答题]写出题31图中F的逻辑表达式,并分析其电路的逻辑功能。
正确答案:
这是4选一数据选择器
题目解析
最新题目
[简答题]
简述网络拥塞预防和网路拥塞消除策略。
[单选题]
【辽宁师范大学】“这件事大家都赞成”是(...
[简答题]
费用
[单选题]
唐、宋是我国古代秘书工作的
[单选题]
保障全国各族人民依法实行民主选举、民主决...
[单选题]
图纸更改制度是由科技档案的()决定的。
[单选题]
新闻评论标题制作的首要要求是
[单选题]
地球上很多国家和地区闹水荒。对其原因的分...
[单选题]
设A是n阶方阵,则|A|=0的必要条件是...
[单选题]
项目经理部应根据工程特点和规模设置安全管...
扫描二维码
免费搜题、免费刷题、免费查看解析
粤ICP备2024339408号-1